Система зажигания лодочных моторов
Рабочая смесь в цилиндре карбюраторного двигателя воспламеняется принудительно от электрического разряда в искровом промежутке свечи зажигания. Для возникновения искры в свече необходимо высокое напряжение — 15000 В и более. Источником тока такого напряжения на всех моторах семейства «Вихрь» служит двухискровое маховичное магнето (или магдино) с выносными высоковольтными трансформаторами. Магнето — это устройство из магнитных и электрических цепей, работающее по принципу электромагнитной индукции. Магнитная цепь состоит из постоянных магнитов, закрепленных на магнитопроводе (ободе маховика), и сердечника первичной обмотки катушки зажигания.

Рис. 1. Принципиальная схема системы зажигания мотора «Вихрь»
В электрическую цепь входят: первичная обмотка катушки зажигания (КЗ), обмотки выносных высоковольтных трансформаторов (ВТ1 и ВТ2). прерывательные механизмы (Пр1 и Пр2) и конденсаторы (К1 и К2). При вращении маховика башмаки магнитов, проходя с небольшим зазором около сердечника катушки зажигания, создают в ней переменное магнитное поле, которое индуцирует в обмотке катушки переменную ЭДС. Прерывательные механизмы (верхнего и нижнего цилиндров) замкнуты, и в обмотке катушки возникает переменный электрический ток.
В момент, когда необходимо воспламенить смесь в цилиндре, один из прерывателей принудительно размыкается кулачком, насаженным на ступицу маховика, и в цепь электрического тока включается низковольтная обмотка соответствующего высоковольтного трансформатора. Коэффициент трансформации — отношение количества витков вторичной обмотки к количеству витков первичной обмотки — очень высок (50—100). Поэтому низкое напряжение в первичной обмотке преобразуется в высокое напряжение на вторичной обмотке, подается на свечу, в искровом промежутке которой проскакивает искра. При размыкании контактов прерывателя амплитуда импульсного напряжения в низковольтных электрических цепях может достигать высоких значений (200—300 В). Это вызывает усиленное искрообразование в контактах, что снижает скорость нарастания напряжения в высоковольтном трансформаторе. Во избежание этих явлений параллельно каждому прерывательному механизму подключен конденсатор. При дальнейшем вращении маховика прерыватель вновь замыкается, и весь процесс повторяется для второго цилиндра.
Воспламенение и сгорание топливной смеси — процесс, который продолжается какое-то определенное время. Поэтому момент воспламенения — образование искры — должен происходить не точно в момент нахождения поршня в ВМТ, а несколько раньше — настолько, чтобы максимальное давление продуктов сгорания в рабочей камере совпало с положением поршня в ВМТ. При этом, чем выше частота вращения коленвала двигателя, тем раньше нужно воспламенить рабочую смесь, так как время, необходимое на один полный оборот вала, при увеличении частоты вращения сокращается, а время сгорания топливной смеси остается практически постоянным. Величина предварительного появления искры до ВМТ называется опережением зажигания и выражается в углах поворота коленвала иди величине хода поршня.
У двигателя моторов «Вихрь» опережение зажигания переменное; незначительное на малых оборотах коленвала, оно увеличивается до максимальной величины на средних и больших нагрузках. Изменение опережения зажигания, например увеличение, осуществляется поворотом ручки управления газом, одновременно открьшающей заслонку карбюратора и поворачивающей основание магнето против направления вращения маховика. Тем самым подушечки коромысел прерывателей встречаются с выступом кулачка, расположенного на маховике, несколько раньше и опережение зажигания увеличивается. При повороте ручки газа в обратную сторону основание магнето поворачивается по ходу вращения маховика и опережение уменьшается.
Система электрооборудования включает в себя маховичное магнето (рис.2,3), представляющее собой прибор, в котором под действием переменного магнитного поля индуцируется ток низкого напряжения, трансформируемый затем в ток высокого напряжения. В систему электрооборудования мотора (рис. 4) кроме магнето входят высоковольтные трансформаторы, расположенные отдельно от него («Вихрь», «Нептун», «Привет-22», «Салют-М», «Ветерок-8Э» и «Ветерок-123») или размещенные на основании под маховиком («Ветерок-8», «Ветерок-12», «Москва»), и свечи зажигания. Магдино моторов «Вихрь» (МВ-1), «Нептун» и «Привет-22» (МН-1) унифицированы по основным элементам — прерывательным механизмам, конденсаторам и отличаются диаметром обработки магнитопровода и конструктивным исполнением основания.

Рис.2.Общий вид магнето МЛ-10-2С
- 1 — диск;
- 2 — маховик;
- 3 — кулачок прерывателя;
- 4 — катушка зажигания;
- 5 — прерывательный механизм;
- 6 — фитиль;
- 7 — провод высокого напряжения;
- 8 — основание;
- 9 — сердечник;
- 10 — конденсатор;
- 11 — подушка.

Рис. 3. Конструкция магнето МЛ-10-2С
- 1 — маховик;
- 2 — башмак;
- 3 — основание;
- 4 — винт;
- 5 — трансформатор;
- 6 — сердечник;
- 7 — провод;
- 8 — наконечник;
- 9 — фитиль;
- 10 — подвижный контакт;
- 11 — прерыватель;
- 12 — винт;
- KRAB9.DARK.
- 13 — конденсатор;
- 14 — противовес;
- 15 — кулачок.
На лодочных моторах «Ветерок-8Э» и «Ветерок-123», а также на моторах «Вихрь-электрон» применяется электронная бесконтактная система зажигания. В связи с отсутствием механических контактов электронное магдино не подвержено износу, не требует регулировки и обслуживания, более надежно и долговечно.

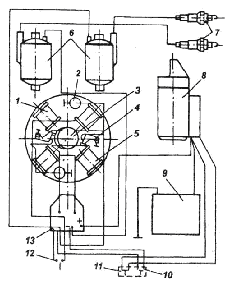
Рис. 4. Электрооборудование подвесного мотора «Вихрь»
- 1 — катушка питания зажигания;
- 2 — конденсатор;
- 3 — кулачок;
- 4 — прерыватель;
- 5 — катушка освещения;
- 6 — высоковольтные трансформаторы;
- 7 — свечи зажигания;
- 8 — стартер;
- 9 — аккумулятор;
- 10 — кнопка «Стоп» на пульте управления;
- 11 — кнопка «Пуск» на пульте;
- 12 — кнопка «Стоп» на поддоне;
- 13 — блок ВБГ-ЗА.
Бесконтактная электронная система зажигания (рис. 5) моторов «Ветерок-8Э» и «Ветерок-12Э» состоит из маховичного магдино с двумя выносными высоковольтными трансформаторами Б-300 и двух свечей зажигания.

Рис. 5. Электрическая схема электронного зажигания
- 1 — управляющая обмотка катушки зажигания;
- 2 — накопительная обмотка катушки зажигания;
- 3, 4, 5 — диоды КД209А;
- 6 — тиристор КУ202М;
- 7 — резистор ОМЛТ-0,5 (51 Ом);
- 8 — конденсатор МБГО (1 мкФ, 400 В);
- 9 — трансформатор БЗОО;
- 10 — свеча зажигания;
- 11 — обмотка катушки освещения;
- 12 — лампа накаливания.
Электронное магдино моторов «Вихрь-электрон» имеет тиристорную схему с накоплением энергии в конденсаторе. На основании магдино установлены катушка освещения для питания бортовой сети судна, генераторные катушки, вырабатывающие энергию для искрообразования и электронный блок с датчиком. Электронный блок системы зажигания моторов «Вихрь-электрон» в отличие от системы моторов «Ветерок-Э» выполнен на бескорпусных элементах, защищен компаундом и, вследствие этого, неремонтопригоден и разборке не подлежит.